Расширительный бак для отопления ДЖИЛЕКС F 6л
Технические особенности Мембранные баки Расширительные баки для отопления
- Корпус изготовлен из высококачественной стали.
- Металлический фланец.
- Дополнительные опорные ноги для вертикальных расширительных баков от 50 л.
- Краска с защитой от ультрафиолетовых лучей.
- Сменная эластичная мембрана изготовлена из EPDM (этилен-пропилен-диен-мономер).
- Выдерживает температуру теплоносителя от -10 до +110 °С.
- Воздушный клапан для контроля давления и его корректировки автомобильным насосом.
Ограничения Мембранные баки Расширительные баки для отопления
- Содержание этиленгликоля в воде не должно превышать 50%.
- Необходимо защитить бак от воздействия влаги и механических повреждений.
- При выборе расширительных баков большого объема уточните размер проемов в местах установки.
- Давление в баке должно быть отрегулировано, согласно статическому давлению системы (ориентир – самая высокая точка), но не меньше, чем требуется по паспорту котла.
- Не допускайте замерзания теплоносителя в баке.
- Не допускайте попадания посторонних предметов в бак.
Технические характеристики расширительного бака
- Мембранные баки Расширительные баки для отопления способен работать с теплоносителем при температуре от -10 до +110 °С.
- Мембранные баки Расширительные баки для отопления выдерживает максимальное рабочее давление 3 бар.
Серия F представляет собой эффективное решение в области отопительных систем, спроектированное для обеспечения надежного и долгосрочного функционирования. Этот бак для отопления обладает вертикальным исполнением, что делает его удобным в установке и идеальным для помещений с ограниченным пространством. Основное предназначение данного изделия — обеспечение эффективной работы системы отопления.
Метод установки бака вертикальный, что позволяет оптимизировать использование имеющегося пространства. Это особенно актуально в условиях, где каждый квадратный метр имеет значение. С этим продуктом легко справляться с задачей обеспечения тепла в помещении благодаря его удобной вертикальной конфигурации. Бак для отопления имеет стандартное подключение ¾", что обеспечивает совместимость с большинством существующих систем. Диаметр рабочего штуцера также составляет ¾", что делает его удобным и легко адаптируемым к существующим инфраструктурным решениям.
Материал корпуса — высокопрочная сталь, что обеспечивает надежность и долгий срок службы. Сменная мембрана из EPDM обеспечивает эффективное управление давлением в системе, увеличивая таким образом долговечность бака. Максимальное рабочее давление составляет 3 бара, что гарантирует стабильность и безопасность в работе.
Продукт не оснащен манометром, но его исходное давление 1.5 бара обеспечивает оптимальные условия для эффективной работы системы. Срок службы бака составляет 8 лет, а гарантийный период — 2 года. Это подчеркивает высокое качество и надежность продукта, делая его превосходным выбором для тех, кто ищет надежное решение для отопительных систем.
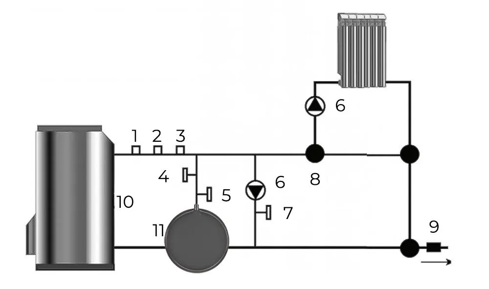
Рекомндуемая схаму установки расширительного бака для отопления ДЖИЛЕКС F 6 л
Расширительные Баки ДЖИЛЕКС F 6л: обеспечение стабильности в системах водоснабжения
Расширительные баки, такие как ДЖИЛЕКС F 6л, играют ключевую роль в обеспечении стабильности систем водоснабжения. Их предназначение заключается в накоплении необходимого уровня воды, а также в предотвращении гидроударов и поддержании постоянного давления как в промышленных условиях, так и в индивидуальных системах.
В промышленных обстоятельствах или в индивидуальных домашних условиях, где важно обеспечить непрерывное водоснабжение без скачков давления, использование расширительных баков становится критически важным. Баки ДЖИЛЕКС F 6л обладают оптимальной вместимостью и эффективностью, что делает их идеальным выбором для обеспечения стабильности и надежности в системах водоснабжения.
Эти расширительные баки представляют собой неотъемлемый компонент систем водоснабжения, обеспечивая равномерное распределение давления и предотвращая возможные повреждения от гидроударов. ДЖИЛЕКС F 6л - это не только гарантия постоянного давления, но и эффективная защита всей системы водоснабжения от нежелательных воздействий.
Купить расширительные бак для отопления ДЖИЛЕКС F 6 в Бобруйске
Получите Расширительные баки для системы отопления с легкостью в АкваБрег: Удобные варианты получения и оплаты:
Самовывоз: Загляните в наш магазин лично. Адрес и график работы доступны на сайте. Приходите в удобное для вас время.Доставка: Мы обеспечиваем быструю доставку в соответствии с расписанием. Укажите адрес при оформлении заказа, и мы оперативно доставим его по указанному месту.
Удобная оплата: Выбор способа оплаты остается на ваше усмотрение. Мы принимаем как безналичные, так и наличные средства.
АкваБрег – ваш надежный партнер в обеспечении системы отопления. Рассчитывайте на надежные решения с нами.
Доставка курьером в город Бобруйск
Доставка осуществляется на следующий день после оформления заказа.В день доставки до 13:00 с Вами связывается оператор компании перевозчика и уточняет время доставки.
- Время работы с 10:30 до 23:00
Стоимость
Цена доставки товара зависит от его веса и габаритов. Доставки в город Бобруйск осуществляться согласно графика. Стоимость и график поставки вы можете уточнить у оператора call-центра. Также стоимость доставки вы можете самостоятельно рассчитать в карточке товара. Бобруйск